![[Trending] Gambar Paten dan Desain Motor Suzuki MotoGP GSX-RR Versi Jalan Raya !!! 1 paten dan desain motor Suzuki MotoGP GSX-RR versi jalan raya](https://ridertua.com/wp-content/uploads/2018/02/Suzuki-Daftarkan-Paten-Motor-MotoGP-GSX-RR-Versi-Jalan-Raya-2.jpg)
Suzuki diberitakan telah mendaftarkan paten desain internasional pertama kalinya dengan apa yang mereka sebut Suzuki GSX-RR Street. Jika Ducati dan Honda sudah bikin superbike yang diturunkan langsung dari motor prototipe MotoGP maka Suzuki juga boyong teknologinya langsung dari markas Hamamatsu Jepang. Dimana merupakan dapur yang meracik motor prototipe di Kejuaraan Dunia MotoGP. Terlihat olah gambar GSXRR Street ini menyipit… Keren.. Berikut gambar paten dan desain motor Suzuki MotoGP GSX-RR versi jalan raya.
![[Trending] Gambar Paten dan Desain Motor Suzuki MotoGP GSX-RR Versi Jalan Raya !!! 2 Suzuki Daftarkan Paten Motor MotoGP GSX RR Versi Jalan Raya](https://ridertua.com/wp-content/uploads/2018/02/Suzuki-Daftarkan-Paten-Motor-MotoGP-GSX-RR-Versi-Jalan-Raya.jpg)
Dokumen-dokumen yang berasal dari portal Morebikes ini memang tidak diragukan lagi kebenarannya Pabrikan merek Jepang ini infonya akan membuat desain yang hampir sama dengan motor MotoGP-nya. Sama seperti Honda RC213V-S.
![[Trending] Gambar Paten dan Desain Motor Suzuki MotoGP GSX-RR Versi Jalan Raya !!! 3 Suzuki Daftarkan Paten Motor MotoGP GSX RR Versi Jalan Raya 4](https://ridertua.com/wp-content/uploads/2018/02/Suzuki-Daftarkan-Paten-Motor-MotoGP-GSX-RR-Versi-Jalan-Raya-4.jpg)
Sektor wajah depannya mirip sekali dengan motor yang digeber oleh Alex Rins dan Andrea Iannone saat ini. Demikian pula di sudut-sudutnya berikut framenya (double aluminum beam). Yang membedakan adalah lengan ayun (swing-arm) yang infonya demi memangkas harga maka dibuat dengan desain lain.
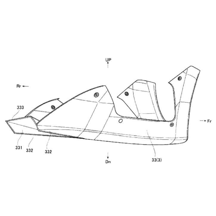
Bagian yang dipatenkan adalah model samping. Meliputi tiga bagian yang berbeda untuk masing-masing model. Terutama bagian bawah. Paten ini menyangkut fungsi aerodinamika motor. Dimana Suzuki berusaha merekayasa aliran udara untuk kestabilan motor dengan lekukan tadi. Rekayasa desain untuk Suzuki GSX-RR Street ini akan digunakan juga pada model motor Suzuki masa depan untuk kelas sport lainnya.
![[Trending] Gambar Paten dan Desain Motor Suzuki MotoGP GSX-RR Versi Jalan Raya !!! 4 Suzuki Daftarkan Paten Motor MotoGP GSX RR Versi Jalan Raya 1](https://ridertua.com/wp-content/uploads/2018/02/Suzuki-Daftarkan-Paten-Motor-MotoGP-GSX-RR-Versi-Jalan-Raya-1.jpg)
Rival Suzuki GSX-RR Street
- Ducati (2007) dengan Desmosedici RR power 197 hp V4 engine, desmodromic
- Honda dengan RC213V-S, adalah replika prototipe MotoGP RC213V
- KTM,dengan RC16 sangat dekat dengan Mesin MotoGP.
- Aprilia dengan RSV4 RR dinamai FW-GP power 250 mirip MotoGP RS-GP dengan pneumatic valve
- Yamaha R1M
- Panigale V4 ?
![[Trending] Gambar Paten dan Desain Motor Suzuki MotoGP GSX-RR Versi Jalan Raya !!! 5 Suzuki Daftarkan Paten Motor MotoGP GSX RR Versi Jalan Raya 3](https://ridertua.com/wp-content/uploads/2018/02/Suzuki-Daftarkan-Paten-Motor-MotoGP-GSX-RR-Versi-Jalan-Raya-3.jpg)






asli saya kira aprilia